医疗器械创新网

logo

会员登录

用户登录 评委登录
一周内自动登录 建议在公共电脑上取消此选项
一周内自动登录 建议在公共电脑上取消此选项
依据工信部新规要求,运营商部署做出调整,现部分用户无法获取短信验证码(移动运营商为主)。如遇收不到短信验证码情况,请更换其他手机号(联通、电信)尝试,有疑问请电话咨询:18912606905、18136127515。
一周内自动登录 建议在公共电脑上取消此选项
手机验证码登录 还未账号?立即注册

会员注册

*依据工信部新规要求,运营商部署做出调整,现部分用户无法获取短信验证码(移动运营商为主)。如遇收不到短信验证码情况,请更换其他手机号(联通、电信)尝试,有疑问请电话咨询:18912606905、18136127515。
已有账号?
医疗器械创新网
医疗器械创新网

预算2.5亿,北京影像集采谁是赢家?

日期:2025-11-16
浏览量:2059

近日,器械之家从北京市公共资源交易服务平台获悉,北京市属医院2025年医疗器械创新网集中带量采购项目放射组公开招标工作正式启动,本次招标项目预算金额高达25084万元(人民币)。分9个包采购CTDR、磁共振以及DSA等设备。


目前1-5包已公布中标结果,1-5包合计中标8973万元,本土品牌东软医疗、赛诺威盛和万东医疗等中标。7包暂无动态,8-9包废标后重新招标。


01

备受关注的影像集采


本次北京市属医院2025年医疗器械创新网集中带量采购项目放射组公开招标项目备受行业关注,预算25084万元,分9个包,用于采购CTDR、磁共振以及DSA


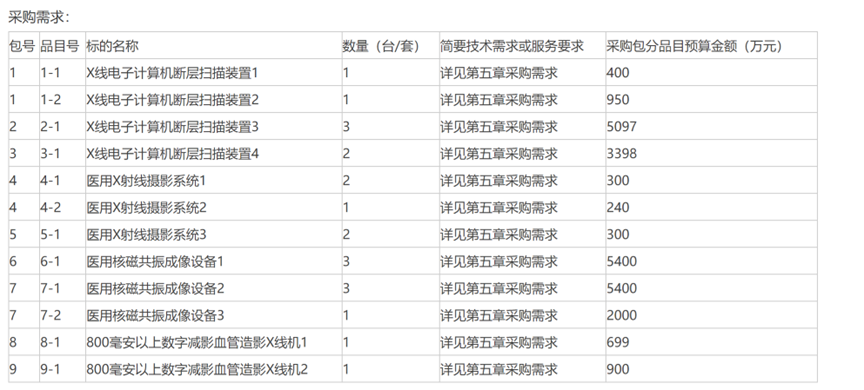
采购需求详细且丰富,涵盖多个包号、品目号的设备采购。具体来看:



本项目明确不接受联合体投标。


2025114日,该项目发布了更正公告。更正了采购文件的内容。



更正内容包括:


1、经采购人确认,针对本项目第6包医用核磁共振成像设备1招标文件 “第五章采购需求七、采购标的需满足的质量、安全、技术规格、物理特性等二、技术和服务要求中要求投标人须提供检测报告复印件,并加盖投标人单位公章作为招标要求技术支持证明材料的,更正为投标人须提供技术白皮书或检测报告复印件,并加盖投标人和生产厂家单位公章,如提供的证明材料为技术白皮书投标人需单独出具承诺函,承诺技术白皮书的真实性(格式自拟)


2、经采购人确认,针对本项目第7包医用核磁共振成像设备2、医用核磁共振成像设备3招标文件第五章采购需求七、采购标的需满足的质量、安全、技术规格、物理特性等二、技术和服务要求中要求投标人须提供检测报告复印件,并加盖投标人单位公章作为招标要求技术支持证明材料的,更正为投标人须提供技术白皮书或检测报告复印件,并加盖投标人和生产厂家单位公章,如提供的证明材料为技术白皮书投标人需单独出具承诺函,承诺技术白皮书的真实性(格式自拟)


3、本项目第6包医用核磁共振成像设备1投标截止时间、开标时间更正为:202511200830分(北京时间)。


4、本项目第7包医用核磁共振成像设备2、医用核磁共振成像设备3投标截止时间、开标时间更正为:202511200830分(北京时间)。


此次北京市属医院放射组医疗器械创新网集中带量采购项目预算高达2.5亿元,反映出北京市属医院在放射类医疗器械创新网方面有着较大的采购需求和投入规模。这显示出医疗行业在设备更新换代、提升医疗水平方面的资金支持力度,也暗示着相关设备市场存在较大的潜在商业机会。对于医疗器械创新网制造商来说,这是一个重要的市场争夺点,成功中标将带来可观的收入和市场份额提升。


02

谁是赢家?


20251114日(昨日),北京市属医院2025年医疗器械创新网集中带量采购项目招标有了新进展,1-5包发布了中标结果,7包暂无动态更新,8-9包则经历了废标后又发布重新招标公告的情况。



从以下图片信息可知,1-5包中标情况如下:



经统计,1-5包合计中标金额为8973万元。本次项目采购人为首都医科大学附属首都儿童医院。从目前已中标情况来看,在CTDR设备的采购中,本土品牌东软医疗、赛诺威盛和万东医疗表现优异。


8-9包此前发布了废标结果,随后又发布了重新招标公告,不过目前关于这两包重新招标暂无更多详细信息披露。


此次集中带量采购项目不仅关注当前的设备采购,还让人对后续核磁和DSA等设备的采购充满期待。随着医疗技术的不断进步和医疗需求的增长,这些高端设备的采购市场也将逐渐扩大。相关企业如果能够在本次采购中积累经验、提升品牌影响力,将更有机会在后续的高端设备采购中占据优势,从而推动整个医疗器械创新网行业向高端化、智能化方向发展,为行业带来更多的商业机会和财务增长点。






▲文章来源:器械之家
▲转载请标注以上来源

声明:本文仅作信息传递之目的,仅供参考。本文不对投资及治疗构成任何建议,请谨慎甄别。如涉及医疗器械创新网内容、版权和其它问题,为保障双方权益,请与我们联系,我们将立即处理。如有平台转载本篇文章,须自行对该篇文章负责,医疗器械创新网网不对转载引起的二次传播负责。

往期推荐

返回列表
医疗器械创新网网 医疗器械创新网网 医疗器械创新网网 医疗器械创新网网 医疗器械创新网网